叮咚邻里智慧物业云平台使用手册
系统概述
数据准备
数据中心
小区管理
房屋管理
业户管理
组织架构
员工管理
车位管理
数据报表
财务公示(酬金制)
小区账户
交易记录
预算管理
支出申请
收支类型
更多配置
收费中心
收银台
账单管理
缴费记录
仪表管理
对账中心
一键催缴
收费标准
工单中心
报事报修
访客通行
合同管理
合同管理
合同清单
合同审批
签约客户
合同类型
财务往来
发票管理
财务往来
采购中心
采购管理
物品管理
物品列表
物品分类
物品品牌
仓库管理
仓库列表
物品调拨
物品申领
入库记录
出库记录
供应商管理
服务通知
短信通知
短信发送
短信查询
资源购买
微信公众号
图文分组
公众号设置
图文消息
模板消息
关联小程序
小区公告
信息公开
配置中心
支付设置
微信支付
支付宝支付
支付宝和微信银行账户替换
打印设置
更多配置
本文档使用 MrDoc 发布
-
+
首页
短信查询
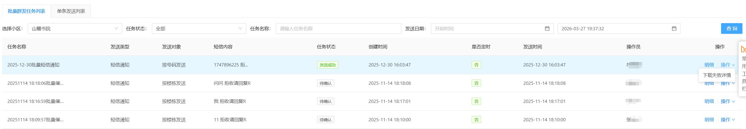
# 一、功能介绍 短信发送完毕后,可以在当前页面查看每次任务发送的具体情况。 功能路径:服务通知 -》短信通知 -》短信查询。 # 二、查询短信发送情况 ### (一)批量群发任务列表: * 选择【批量群发任务列表】→【选择小区】→ 选择【任务状态】→ 选择【发送日期】→ 点击【查询】→ 选择对应的发送记录 → 点击【明细】查看具体的发送情况。  --- * 点击**明细**可以查看短信发送的具体情况,包括已发送运营商、发送成功、发送失败等具体数量和占比,也可以输入手机号码查询单条发送情况。  --- * 如有发送失败的信息,点击**操作**,可以失败重发,也可以下载失败详情。  --- ### (二)单条发送列表: 选择【单条发送列表】→【选择小区】→ 输入需查询的【手机号码】→ 选择【发送日期】→ 点击【查询】。 
杨雨
2026年3月28日 15:10
转发文档
收藏文档
上一篇
下一篇
手机扫码
复制链接
手机扫一扫转发分享
复制链接
Markdown文件
分享
链接
类型
密码
更新密码